Описание
Отзывы
Технические параметры
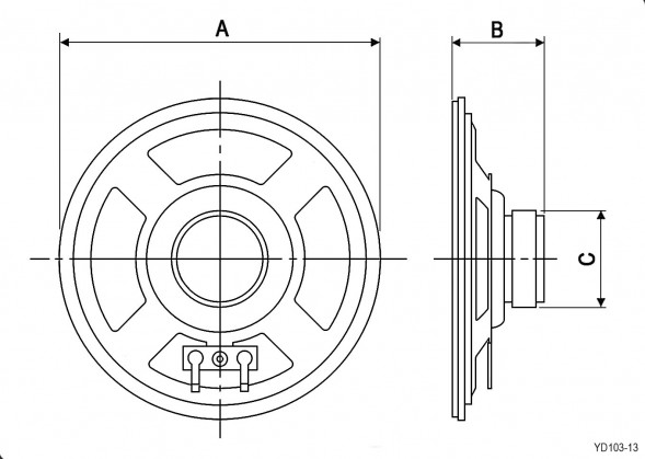
YD103-13 4W 4ohm Динамик
Технические параметры
| Диаметр корпуса | 102 мм |
| Диаметр магнита | 32 мм |
| Диапазон частот | 170 - 10000 Гц |
| Импеданс | 4 Ом |
| Номинальная мощность | 4 Вт |
| Резонансная частота | 170 Гц |
| Тип | Головка электродинамическая (динамик) серии YD103- |
| Чувствительность | 90 дБ |
Характеристики
Единиц в одном товаре
1 динамик
Тип запчасти
Динамик
GTIN2
2037344640805
Отзывов ещё нет — ваш может стать первым.
Все отзывы 0
На этой странице отзывов нет
YD103-13 4W 4ohm Динамик
Технические параметры
| Диаметр корпуса | 102 мм |
| Диаметр магнита | 32 мм |
| Диапазон частот | 170 - 10000 Гц |
| Импеданс | 4 Ом |
| Номинальная мощность | 4 Вт |
| Резонансная частота | 170 Гц |
| Тип | Головка электродинамическая (динамик) серии YD103- |
| Чувствительность | 90 дБ |
